免打螺栓平臺防護裝置
一、現狀及存在問題:
1:目前,建筑施工時,在樓梯平臺、陽臺等洞口處,在墻面施打膨脹螺栓進行硬質防護,工序繁瑣;
2:在墻面粉刷與墻面上涂料膩子時會額外產生多次拆裝費用;
3:遺留在墻面的膨脹螺栓會產生銹蝕進而污染墻面,存在質量隱患。
二、改進方法:
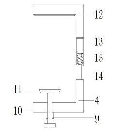
1:免打螺栓式的安裝方式;
2:設置有彈簧與滑桿裝置,可以適用于不同厚度的墻體;
3:組合式安裝,便于運輸與適用范圍廣;
4:在墻面夾持件內側固定安裝帶有防滑紋的摩擦墊。
三、改進效果:
1:免打螺栓式安裝,提高了施工效率;
2:折疊收放,不占空間;
3:可以應用于陽臺、樓梯平臺、風井洞口等多種場合,適用范圍廣;
4:減少了傳統使用膨脹螺栓的人力財力物力的投入;
5:避免了膨脹螺栓的使用,杜絕了后期墻面的質量隱患,具有顯著的環保效益和經濟效益。
四、成果展示:
圖1是正視示意圖;
圖2是俯視局部剖面圖;
圖3是傳統的樓梯平臺及陽臺防護現狀。
圖中:1、墻面,2、樓梯平臺,4、凹形框架,5、第一桿體固定件,6、連接桿,7、第二桿體固定件,8、第二防護桿件,9、螺紋套桿,10、轉動螺桿,11、摩擦盤,12、墻面夾持件,13、套桿,14、滑桿,15、彈簧,16、第一防護桿件,17、防護玻璃安裝
圖1
圖2

圖3